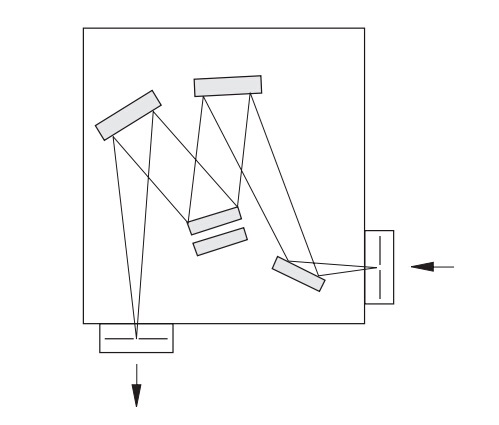
- 產品介紹
- 產品參數
|
型號 |
WDG15-Z |
|
焦距(mm) |
150 |
|
相對孔徑 |
f/4 |
|
波長范圍(nm) |
200~1500 |
|
分辨率(435.8 nm處,縫寬10μm) |
0.4 nm |
|
線色散(1200l/mm光柵) |
5.4 nm/ mm |
|
準確度(1200l/mm光柵) |
0.25nm |
|
重復性(nm) |
0.1 |
|
最小步距(nm) |
0.01 |
|
狹縫 |
寬度0.1-3mm,連續可調,高度10mm |
|
焦面尺寸(mm) |
25×10(或狹縫) |
|
光柵臺 |
雙光柵(用戶任選) |
|
外形尺寸(mm) |
190×200×160 |
|
重量(kg) |
5 |

軟件功能介紹:
本軟件是基于Windows平臺的可執行程序。安裝簡單,使用方便,儀器采用標準 的USB 接口,方便轉換。
其優越的自動校準、記憶、超硬件保護等功能,提供接口函數,便于用戶二次開發。
軟件特點:
- 人性化界面設計,操作方便 ;
- 可直接安裝或拷貝到您的電腦,安裝簡單 ;
- 兼容性好 ;
- 軟件集成性好 , 占用空間少 ;
- 功能強大,有自動校準、記憶、超硬件保護等功能。








